Welcome: Jinan Okna CNC Machine CO., LTD
info@chinadoorwindow.com +86 15953169028
Home      Blog     Window Making and Installation       1 How to Make PVC window and door with P…

Window Making and Installation

1 How to Make PVC window and door with PVC Window Machine

How To Make PVC Window - PVC Window Process Technology - 1

Before making PVC doors and windows, read the following two chapters is very important for you to make PVC windows, You can understand the PVC window manufacturing process and how to adjust the machine parameters, also you can find the knowledge of China PVC window making machinery.

PVC Window Making Process

1.PVC Window Profiles Cutting

The equipment for cutting PVC doors and windows profiles mainly includes: single head cutting machine, CNC double head cutting machine, etc. Choose a reasonable profile cutting machine according to the PVC window production volume and investment scale.

When starting to cut, determine the window frame cutting size according to the cutting basis and process requirements, and pay attention to whether the cutting length of the machine itself contains welding allowance. If it contains, you can cut directly according to the component size without considering the welding margin when cutting; if it does not, the cutting size is the original size of the component plus the welding margin at both ends (generally, the single-ended welding margin is 3 mm).

For example, the size of the fixed window produced is 1200 mm×1500 mm, the cutting length of the machine itself does not include welding allowance, and the blanking length of the frame is as follows:

1200+3 X 2=1206 mm……2 pieces;

1500+3 X 2=1506 mm……2 pieces.

During the cutting process, ensure that the saw blade and workbench are clean and free of water, oil, dust, and other debris, so as not to affect the subsequent processes. After cutting, do the first three inspections and random inspections. All components must meet the following technical requirements:

(1) The length tolerance of the component is ±0.5 mm;

(2) The angle tolerance of the component end is ±0.5°;

(3) The perpendicularity between the cutting surface of the component and the two sides of the profile should not affect the welding quality. The welding surface is to be clean and free of water, oil, debris and other debris.

2. UPVC Profile Mullion Cutting

Mullion cuttingequipment : PVC Profile Mullion Cutting Machine

Cut according to the blank size on the design order. After cutting, the first piece will be inspected three times and random inspections. The components should meet the following technical requirements (except for the stiletto saw): see Figure 1-1:


PVC mullion profile cutting

Figure 1 - 1


(1) Ensure that the end angle of the profile after the first saw is 45°, with a tolerance of ±0.5°;

(2) Ensure that the end angle of the profile after the second saw is 90°, with a tolerance of ±0.5°;

(3) After cutting, the deviation of the sharp corner of the profile end and the center line deviation is ±0.5mm;

(4) The cutting length meets the design requirements, and the tolerance is ±0.5 mm;

(5) The versatility of the cutting surface of the component and the two sides of the profile is guaranteed. The surface to be welded is clean and free of water, oil, debris, and other debris.

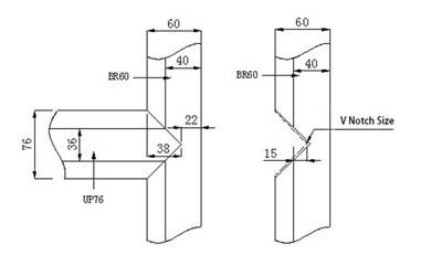
3. V notch Cutting

V notch cutting equipment: V notch cutting saw for PVC profiles.

When making specific doors and windows according to the cutting size on the design order, the depth of the V notch on the profile facet is: half of the width of the welded stile facet minus the welding allowance. For example, when 60 series profiles are welded to SE 76, the depth of the V notch on the BR 60 facet is 36/2 -3=15 mm. V-notch cutting is shown in Figure 1-2.

PVC window mullion cutting

Figure 1-2

After cutting, the first piece is inspected three times and random inspections. All components must meet the following technical requirements after cutting:

(1) The V-notch angle tolerance after cutting is ±0.3°;

(2) The depth tolerance of V notch after cutting is ±0.5mm;

(3) The verticality of the cutting surface of the component and the two sides of the profile is guaranteed, and the welding surface is clean and free of water, oil, debris and other debris.

4. Cutting Calculation of Doors and Windows

The profile cutting calculation of doors and windows mainly considers the original size of the doors and windows, the overlap size between the frames and sashes, and the consumption allowance when the components are welded, and then calculate the length of all components according to the matching relationship between the frames and sashes.

5. Milling Water Slot Holes and air Pressure Balance Holes

Hole milling and drilling machinery mainly including water slot milling machine,copy router drilling machine, etc.

PVC doors and windows must have good water tightness. Water slot must be drilled on the doors and windows so that the accumulated water in the doors and windows can be drained outdoors; in order to ensure that rainwater can be drained smoothly in the drainage cavity, air pressure must be applied to the upper or vertical sides of the doors and windows Balance hole.

According to its position and function, the drainage hole and the air pressure balance hole can be divided into an inner drain hole and an outer drain hole, an inner air pressure balance hole and an outer air pressure balance hole. The specifications and dimensions of the drain hole and the air pressure balance hole are shown in Figure 1-6.

PVC window water slot milling

Figure 1-6
2 PVC Window and Door Processing Technology

CATEGORIES

LATEST NEWS

CONTACT US

Name: Xinlu Li

Mobile:+86 15953169028

Tel:+86 15953169028

Whatsapp:+86 15953169028

Email:info@chinadoorwindow.com

Add:Yuanzhuang Economic and Technology Zone, Jinan, China

whatsapp

Email: info@chinadoorwindow.com

Phone: +86 15953169028